One tech giant’s vision for the future is buzzworthy.
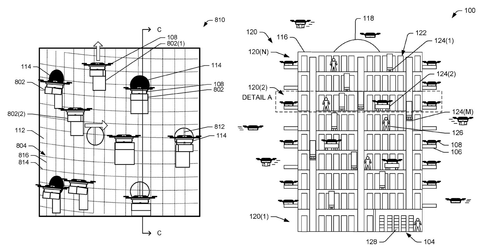
Amazon wants to build massive bee hive-like structures for delivery drones to make it a more efficient alternative than delivering packages by trucks in crowded cities across the country.
The e-commerce company filed for a patent, which was published yesterday, on “multi-level fulfillment centers for unmanned aerial vehicles,” according to The Verge.
Instead of deploying from their warehouses on the outskirts of cities, the delivery drone hubs would allow Amazon to station them closer to where they are needed. The bee hives could be vertical towers to avoid taking up too much space in dense urban areas. The taller the tower, the less likely it is an errant drone might hit a pedestrian.
The Verge notes that this massing of drones could create quality of life issues. A massive cluster of drones would create a lot of noise. And what happens if the batteries on some of these drones die on a return flight? Not too many people would want to live near these hubs, if either were the case.
Amazon has a plan for these concerns. To cut down on sound, the company’s designed “trailing edge fringes,” which act as feather-like mufflers. To prevent drones from falling out of the sky and injuring people, Amazon will institute back-up rotors, motors, and batteries.
This article appeared in an InsideHook newsletter. Sign up for free to get more on travel, wellness, style, drinking, and culture..


