
If you thought airborne drone delivery was the future, think again; Amazon just released patents for drone warehouses as well.
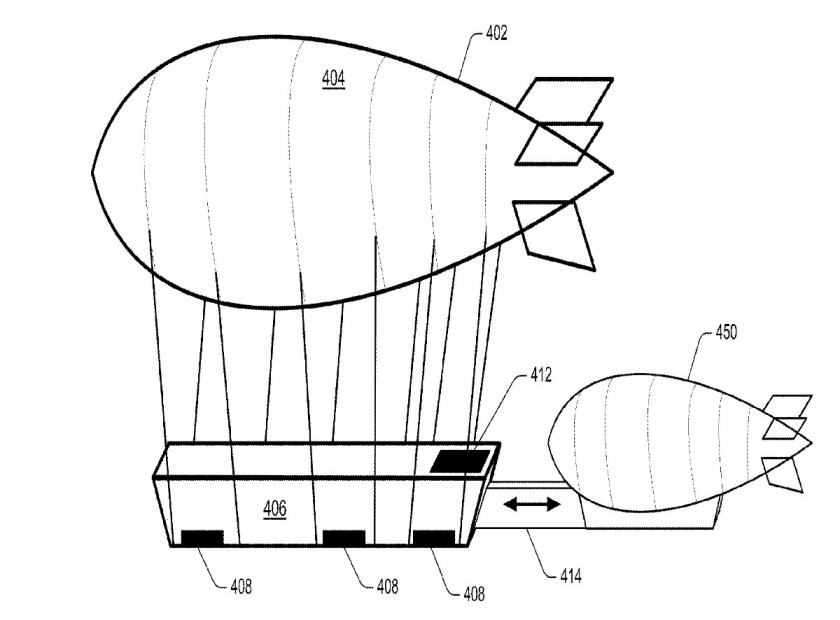
Echoing history, the patents filed by Amazon for “airborne fulfillment centers” (abbreviated as AFCs) are basically airship warehouses. They would be stocked with specific items, then deployed to areas with predicted high demand for those items.

These fulfillment centers would also be outfitted with delivery drones, whose service would be near-instantaneous. The filing specifically lists sporting events as an example of the AFCs’ utility; an AFC could be loaded up with swag and deployed to an important game. Imagine if you could buy beer directly from the Budweiser blimp. That’s what’s being proposed here.
Both the AFCs and drones would be supported by a network of inventory management systems and remote computing resources, and would relay weather, wind speed, and routing data as needed.
Click here to read the full patent document. More images below.

—RealClearLife Staff
This article appeared in an InsideHook newsletter. Sign up for free to get more on travel, wellness, style, drinking, and culture.